| |
|---|---|
| (点击题目可以在互联网中搜索该题目的相关内容) 日期:2006-11-6 0:42:39 来源:PLC之家 作者: 点击: | |
|
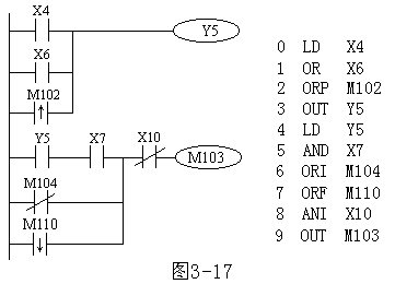
FX系列PLC有基本逻辑指令20或27条、步进指令2条、功能指令100多条(不同系列有所不同)。本节以FX2N为例,介绍其基本逻辑指令和步进指令及其应用。 FX2N的共有27条基本逻辑指令,其中包含了有些子系列PLC的20条基本逻辑指令。 触点并联指令(OR/ORI/ORP/ORF) (1)OR(或指令) 用于单个常开触点的并联,实现逻辑“或”运算。 (2)ORI(或非指令) 用于单个常闭触点的并联,实现逻辑“或非”运算。 (3)ORP 上升沿检测并联连接指令。 (4)ORF 下降沿检测并联连接指令。 触点并联指令的使用如图1所示。
图1 触点并联指令的使用 触点并联指令的使用说明: 1)OR、ORI、ORP、ORF指令都是指单个触点的并联,并联触点的左端接到LD、LDI、LDP或LPF处,右端与前一条指令对应触点的右端相连。触点并联指令连续使用的次数不限; 2)OR、ORI、ORP、ORF指令的目标元件为X、Y、M、T、C、S。 |
|
| 上一篇: 三菱FX系列PLC触点串联指令(AND/ANI/ANDP/ANDF) 下一篇: 三菱FX系列PLC块操作指令(ORB / ANB) |
